305 (ab 2020) P12
-
GARTENTECHNIK
- Akku-Geräte
- Aspire
- Automower
- Blasgeräte & Laubsauger
-
Ersatzteile
-
für Automower
- Aspire R4
- 105 (ab 2016) P1
- 220 AC (ab 2007) P0
- 230 ACX (ab 2007) P0
- 265 ACX (ab 2010) P0
- 305 (bis 2011) P1
- 305 (ab 2020) P12
- 308 (ab 2013) P1
- 310 (ab 2015) P15
- 310 II (ab 2022) P12
- 310E NERA (ab 2024) P17
- 315 (ab 2015) P15
- 315X (ab 2018) P15
- 315 II (ab 2022) P12
- 320 (ab 2013) P2
- 320 NERA (ab 2023) P21
- 330X (ab 2013) P2
- 405X (ab 2021) P16
- 415X (ab 2021) P16
- 420 (ab 2016) P2
- 430X (ab 2016) P2
- 440 (ab 2017) P2
- 435X AWD (ab 2019) P25
- 450X (ab 2016) P2
- 450X Nera (ab 2025)
- für Blasgeräte
- für Bodenfräse
- für Ceora
- für Häcksler
- für Heckenschere
- für Hochdruckreiniger
- für Motorsägen
- für Motorsensen
- für Rasenmäher
- für Rasentraktoren
- für Rider
- für Trennschleifer
- Zündkerzen
-
für Automower
- Häcksler
- Heckenscheren
- Hochentaster
- Motorhacken
- Motorsägen
- Motorsensen & Trimmer
- Rasenmäher
- Rasentraktoren
- Reinigungsgeräte
- Schneefräsen
- Spielsachen
- Stromaggregat
- Trennschleifer
- Vertikutierer
-
Zubehör & Verschleißteile
- Betriebsstoffe Gartentechnik
- Gartenscheren
- für Automower
- für Blasgeräte
- für Balkenmäher & Einachsschlepper
- für Heckenscheren
- für Hochdruckreiniger
- für Industriesauger
- für Motorhacken
- für Motorsägen
- für Motorsensen & Trimmer
- für Rasenmäher
- für Rasentraktoren
- für Rider
- für Schneefräsen
- für Stampfer
- für Trennschleifer
- Kanister
- AKTIONEN Gartentechnik
- Gartentechnik-Service
- Husqvarna
- Gartentechnik-Blog
-
FORSTTECHNIK
-
LANDTECHNIK
-
E-BIKE
Produkte filtern
Produkte filtern
ABDECKHAUBE AUTOMOWER P12
Abdeckhaube für den Husqvarna Automower Plattform P12305 310II 315IIErsetzt Artikelnummer 597757601
Ladekontakta am Mäher
Ladekontakte Automower 315MarkII, 305ab 2020, 310 Mark II
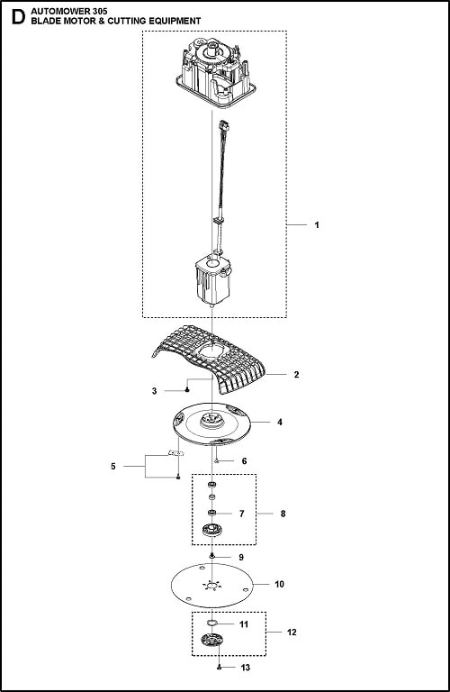
MÄHMOTOR 305 310II 315II
Mähmotor Automower 305 310II 315II
RADMOTOR 310 315 405X 415X 310II 315II
Husqvarna Radmotor 598587301 – Antriebsmotor für Automower®Der Husqvarna Radmotor 598587301 ist ein originaler Antriebsmotor für die Räder von Husqvarna Mährobotern. Er sorgt für kraftvollen, zuverlässigen Vortrieb, gleichmäßige Traktion und optimale Manövrierfähigkeit auf unterschiedlichsten Rasenflächen. Perfekt für Ersatz, Wartung oder Reparatur deines Automowers. Kompatible ModelleHusqvarna Automower® 305 Husqvarna Automower® 310 / 315 ab Bj. 2020 Snr. 2028XXXXHusqvarna Automower® 315 / 315 Mark IIHusqvarna Automower® 315X ab Bj. 2020 Snr. 2028XXXXHusqvarna Automower® 405XHusqvarna Automower® 415XKompatibel mit Gardena SILENO Life / SILENO City ab Snr. 1945XXXXKompatibel mit Flymo EasiLife Modellen ab Snr. 1945XXXX Produktvorteile auf einen BlickOriginal Husqvarna ErsatzteilLeistungsstarker Radmotor für zuverlässigen VortriebGewährleistet optimale Traktion auf RasenflächenIdeal für Reparatur oder Austausch defekter MotorenEinfache Montage dank passgenauer Originalbauweise Technische DatenProdukt: Radmotor / Wheel MotorArtikelnummer: 598587301Hersteller: HusqvarnaEinsatzbereich: Antrieb für Automower® und kompatible RasenroboterMaterial: Hochwertige MotorenkomponentenRadmotor Husqvarna Automower 305 405X 4058XBei Modellen 310 315 315X ab Snr. 2028XXXX